002
当前位置 :
首页
>
项目频道
>
重点项目
>
企业产(股)权
莱阳莱动油泵油嘴有限公司53.8824%股权
我要报名
围观数:
转让底价:
¥
504.313634万元
项目编号:ZBZR250083
保证金:
55万元
保证金支付方式:
一次性支付
企业性质: 国资
转让方: 山东华源莱动内燃机有限公司
挂牌起止日期:2025-11-28至2025-12-25
项目推荐
烟台祥瑞汽车租赁有限公司35%国有股权
烟台祥瑞旅游汽车有限公司35%国有股权
长岛百达旅游汽车服务有限公司40%国有股权
烟台保税开发投资有限公司16%国有股权
莱州市海之运石油化工有限公司33.3333%国有股权
烟台市景新置业有限公司50%国有股权
烟台亚中海产品有限公司60%国有股权
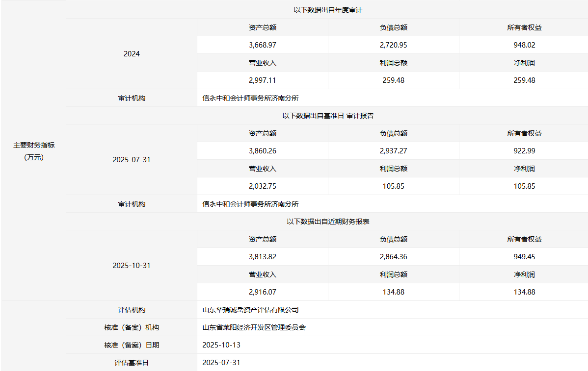
标的企业基本情况
转让方基本情况
交易条件与受让方资格条件
信息公告期及联系方式
补录披露信息
附件材料